유라시아 초원 스키타이 문화권 내에서 카자흐스탄 동부지역에 위치한 지역문화는 사카 문화이다. 사카 문화의 대표적인 유적 가운데 베스샤타르 유적은 일리 강을 끼고 형성된 유적으로 평지에 위치한다. 쿠르간 31개가 남북2km, 동서 1km 내에 자리잡고 있으며 그 중에 돌로 덮은 봉분은 21기, 그 외는 10기는 흙으로 덮은 것이다.
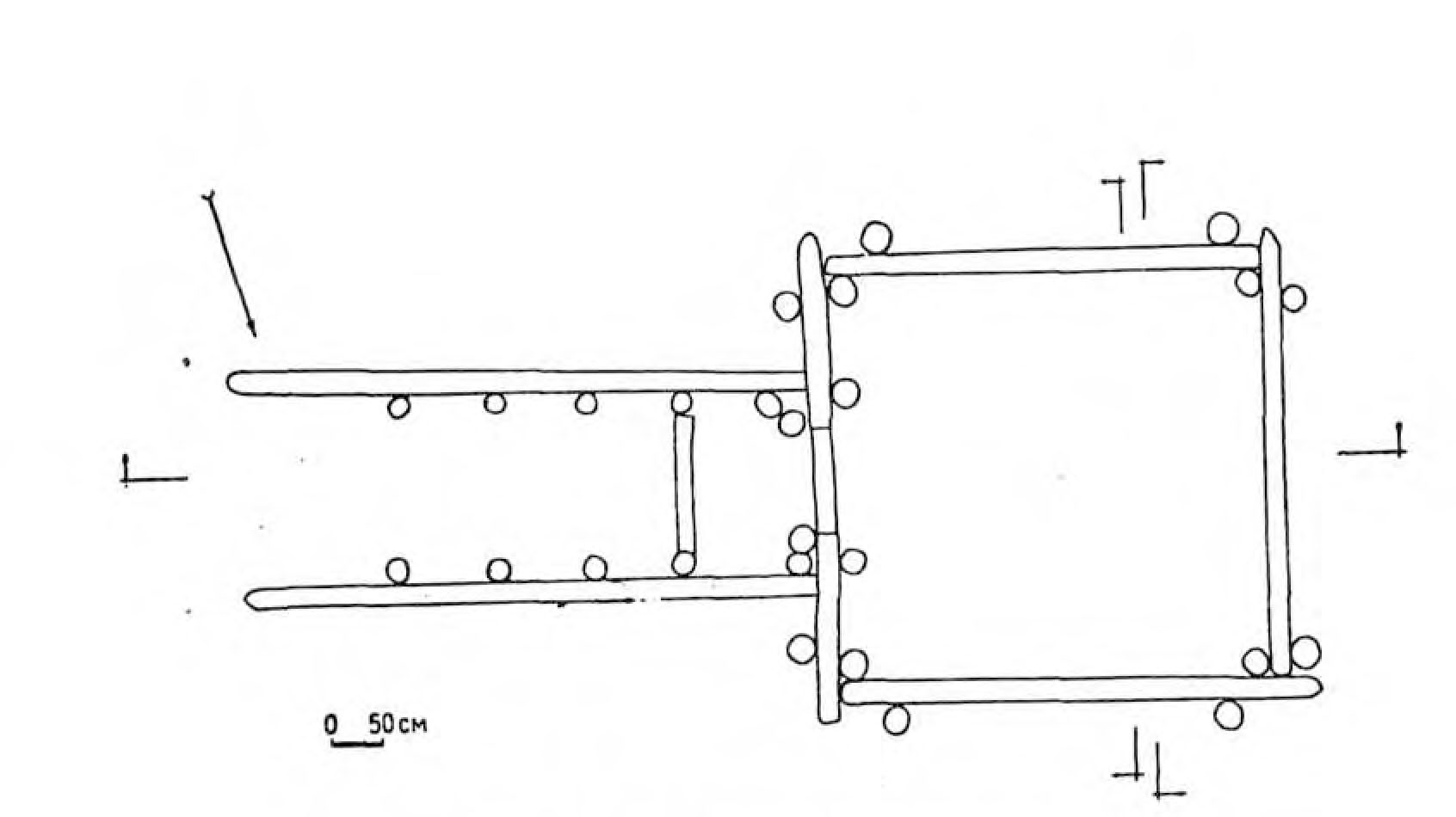
매장주체부로 생각되는 지상 위의 목조 구조물(3.6×3.3m)은 3면은 16개의 통나무를 가로로 세워서 쌓았고(높이 4m), 동쪽면은 복도처럼 생긴 문 시설이 있는 구조이다. 세로로 통나무를 두 줄을 세우고 그 사이를 가로로 통나무로 눕힌 것이다.

그림 1. 베스샤타르 유적 1호의 지상위 목조 구조물의 평면도
북쪽에 큰 쿠르간이 모여 있는데 그 중에서 1~10호, 14호가 지상 위에 연도가 있는 매장주체부를 만들고 그 위를 돌로 덮은 것이다. 무덤의 크기는 각기 다르다.
지하에 카타콤 시설이 따로 있는 무덤은 6호 뿐인데, 정확하게 용도는 알 수 없다. 매장주체부가 지상에 있는 무덤에 남겨진 유물은 거의 없다.
봉분을 돌로 덮는다고 해도 그 내부의 구조는 다를 수 있는데, 25호와 같은 무덤이다. 직경이 8.5m, 높이는 1.08m인데, 지하에 타원형 모양의 구덩이를 파고(3.5×2m) 매장주체부를 만들었다. 인골 2구가 발견되었는데, 왼쪽에는 고리트, 오른쪽에는 철검을 착장했다(그림 2).
철검은 스키타이 단검이라고 불리는 것이고, 청동제 화살이 50개나 들어간 고리트였던 것으로 보인다. 화살은 모두 같은 형식은 아니라고 12개의 형식이다. 허리에 철제장식이 있는 허리띠를 착장했다. 인골주변에서 구슬이 나왔는데, 목걸이를 착용했던 것처럼 보인다.

그림 2. 베스샤타르 유적 25호의 무덤과 출토유물
베스샤타르 유적에 수혈(구덩이)을 파지 않은 무덤은 목조 구조물로 무덤방을 지상에 만들었고, 구덩이를 판 무덤은 목조구조물을 사용하지 않았다.
두 무덤의 차이는 결국 장례치르는 사람이 목제와 인력을 수급능력 즉 경제력의 차이와 관련되었을 것이다.
유적을 발굴한 아키세프는 가장 큰 무덤을 축조하기 위해서는 약 4만명 정도의 인력이 동원되었을 것이라고 보았다.
흑해 지역에도 평지에 높은 봉분을 만드는 무덤이 유행했다. 기원전 7세기 코스트롬스카탸 유적도 지하시설이 있지만 지상위에 목조구조물을 만드는 구조였다. 그리고 기원전 5~4세기 이후에도 높은 봉분을 만들었다. 카자흐스탄의 타스몰라 문화도 마찬가지이고 사카 문화도 높은 봉분을 경쟁적으로 만들었다.
아마도 스키타이 문화권의 공통적 특징중에 하나도 이 높은 봉분이 있는 유적도 포함될 것이다. 누구를 위해서 왜 만들까? 결국 보여주기 위해서일 텐데.....
참고문헌
К.А. Акишев, Г.А. Кушаев Древняя культура саков и усуней долины реки Или.// Алма-Ата: 1963. 320 с.(아키세프, 쿠샤예프 일리강 변의 고대 사카문화)
Степная полоса азиатской части СССР в скифо-сарматское время. М., 1992 (스키토-사르마트 시기의 소비에트 연방 내의 아시아 초원지대)
А.X. Маргулан, К.А. Акишев, М.К. Кадырбаев, А.М. Оразбаев Древняя культура Центрального Казахстана.// Алма-Aтa: 1966. 436 с.(마르구란 외 1966, 카자흐스탄 중분의 고대 문화양상)
김재윤의 고고학강좌
'교과서 밖의 역사: 유라시아 스키타이 문화 중부 > 사카문화' 카테고리의 다른 글
| 기원전 4세기 카자흐스탄 황금인간의 복장 (0) | 2021.07.12 |
|---|---|
| 카자흐스탄 황금인간의 고깔모자 (0) | 2021.07.11 |
| 카자흐스탄 황금인간의 그릇 (1) | 2021.07.10 |
| 카자흐스탄 황금인간의 쿠르간 (1) | 2021.07.09 |
| 스키타이 시대 카자흐스탄의 동과 서쪽 (0) | 2021.07.07 |
